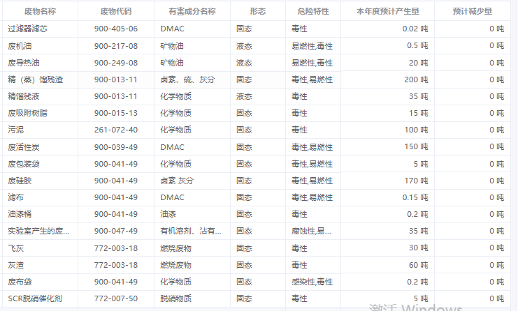
危險廢物污染環境防治信息
根據《中華人民共和國固體廢物污染環境防治法》的要求,產生固體廢物的單位,應當依法及時公開固體廢物污染環境信息,主動接受社會監督。結合我公司實際情況,現將2023年危險廢物污染環境防治信息公開如下:

污染防治措施:
1.應按危險廢物管理要求,委托具有危險廢物經營許可單位進行處置,每年前向生態環境局申報本單位年度危險廢物管理計劃。
2.危險廢物轉移前,向生態環境局申請,轉移聯單存檔。
3.嚴格按照與經營單位合同內進行轉移,出庫時并確認包裝完好與實際重量。應急處置措施:
1.危險廢物發生泄露時,**發現人立即向公司領導報告,馬上通知危險廢物倉庫管理人員和安全員,**時間采取有效方式進行應急處置工作,防止污染擴大。若有人員受傷,應及時送醫救治。
2.現場處置人員應穿戴好防護服裝,防毒面具等防護用品,嚴格按照突發環境風險應急預案進行處置。